Ultrasonic Machining Ceramic Matrix Composites

Cmc Ceramic Matrix Composites Defense And Aerospace Clients

Cmc Ceramic Matrix Composites Defense And Aerospace Clients

Reducing Cutting Force In Rotary Ultrasonic Drilling Of Ceramic Matrix Composites With Longitudinal Torsional Coupled Vibration Sciencedirect

Reducing Cutting Force In Rotary Ultrasonic Drilling Of Ceramic Matrix Composites With Longitudinal Torsional Coupled Vibration Sciencedirect

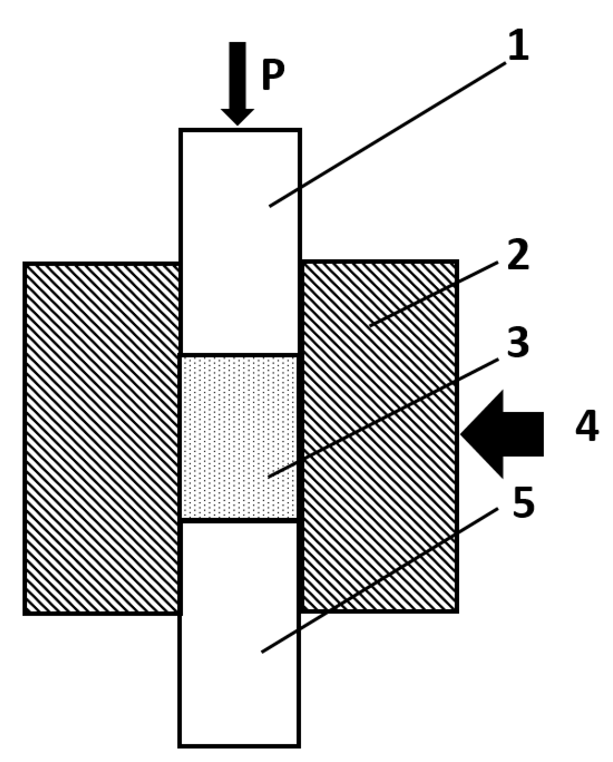
Experimental Study On Vibration Stability In Rotary Ultrasonic Machining Of Ceramic Matrix Composites Cutting Force Variation At Hole Entrance Sciencedirect

Experimental Study On Vibration Stability In Rotary Ultrasonic Machining Of Ceramic Matrix Composites Cutting Force Variation At Hole Entrance Sciencedirect

Machining Of Sic Ceramic Matrix Composites A Review Sciencedirect

Machining Of Sic Ceramic Matrix Composites A Review Sciencedirect

Figure 1 From Rotary Ultrasonic Machining Of Silicon Carbide Designed Experiments Semantic Scholar

Figure 1 From Rotary Ultrasonic Machining Of Silicon Carbide Designed Experiments Semantic Scholar

Ultrasonic Machining Process Working Principles Advantages

Ultrasonic Machining Process Working Principles Advantages

Ultrasonic Machining Process Working Principles Advantages

Ceramic matrix composites cmc are enabling materials for a number of high temperature and demanding applications in aerospace power generation ground transportation nuclear environmental and.

Ultrasonic machining ceramic matrix composites.

Introduction ceramic matrix composites cmc combine reinforcing ceramic phases with a ceramic matrix to create materials with superior properties like high temperature stability high thermal shock resistance and lightweight providing unique engineering solutions. The rotary ultrasonic machining rum has been proved to be a beneficial method for c sic composites drilling with minor tearing defects at the hole exits. Ceramic matrix composites prepregs for parts requiring thermal performance up to 2200 f. Fiber reinforced ceramic matrix composites frcmcs including c c c sic and sic sic have emerged as potential candidates for their superior physical and mechanical properties.

Bullen machines cmcs for defense and aerospace clients involved in high reliability applications. Continuous fiber reinforced sic ceramic matrix composites frcmcs sic are currently the preferred material for hot section components safety critical components and braking components in the aerospace energy transportation with high value and have triggered the demand for machining. Ceramic matrix composites cmc combine reinforcing ceramic phases with a ceramic matrix to create materials with superior properties like high temperature stability high thermal shock resistance and lightweight providing unique engineering solutions. A comparison is made between rusm and conventional diamond grinding by studying the effects of material removal.

Ultrasonic machining offers many advantages over conventional laser and edm machining of ceramic matrix composites. In contrast the effects of tool vibration on surface topography in rum of c sic composites considering fiber orientation have not been reported. They are heterogeneous materials which combine the ceramic s high strength hardness and temperature stability with the reinforcing fiber s high toughness. Rotary ultrasonic machining rum is a superior hole manufacturing method for ceramic matrix composites cmc with reduced cutting force and improved hole quality.

Rotary ultrasonic slot machining rusm of ceramic matrix composites is explored.

Improving Hole Exit Quality In Rotary Ultrasonic Machining Of Ceramic Matrix Composites Using A Compound Step Taper Drill Sciencedirect

Improving Hole Exit Quality In Rotary Ultrasonic Machining Of Ceramic Matrix Composites Using A Compound Step Taper Drill Sciencedirect

Ultrasonic Machining Of Alumina Based Ceramic Composites Sciencedirect

Ultrasonic Machining Of Alumina Based Ceramic Composites Sciencedirect

Drilling Induced Tearing Defects In Rotary Ultrasonic Machining Of C Sic Composites Sciencedirect

Drilling Induced Tearing Defects In Rotary Ultrasonic Machining Of C Sic Composites Sciencedirect

Materials Free Full Text Precise Drilling Of Holes In Alumina Ceramic Al2o3 By Rotary Ultrasonic Drilling And Its Parameter Optimization Using Moga Ii Html

Materials Free Full Text Precise Drilling Of Holes In Alumina Ceramic Al2o3 By Rotary Ultrasonic Drilling And Its Parameter Optimization Using Moga Ii Html

Source : pinterest.com